Этап #1 Постановка задачи
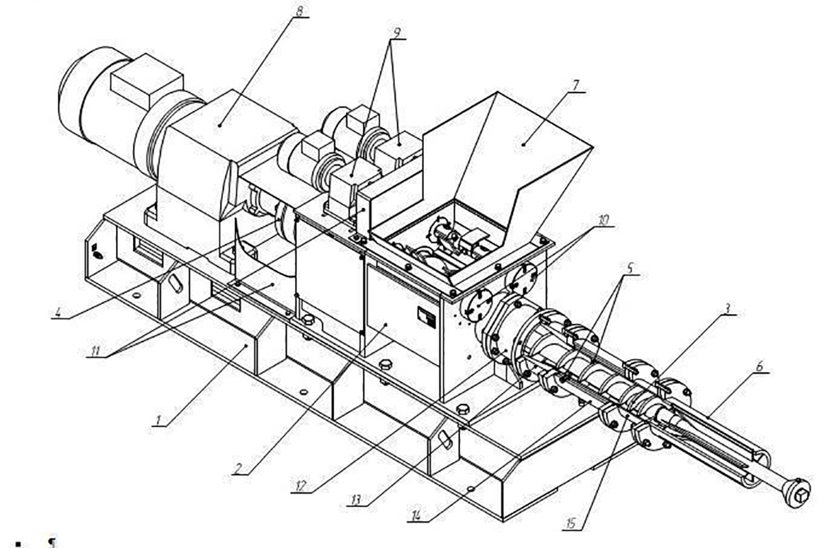
Работаем над внешним видом и эргономикой металлического корпуса брикетёра — станка, предназначенного для производства брикетов. Это примерный вид устройства:
Само собой разумеется, что брикетёр используется в составе участка брикетирования, вот такого:
Состав брикетёра — основание, металлический корпус, шнек, муфта, винт, формирующая насадка, бункер, привод шнека, приводы ворошителей, ворошители, кожух приводов, камера прессования и пульт управления (дизайн последнего — не наша задача, так что его мы не трогаем).
Внешние элементы управления: индикация включения питания автоматическим выключателем «Сеть», сам выключатель, панель управления «Пресс»: кнопки «Работа» и «Реверс», «Откл.», лампы «Работа» и «Реверс», «Перегрузка по току». Также есть кнопка общей остановки станка и ещё две панели управления: «Ворошитель» и «Вибратор».
Посмотрим конкурентные разработки (повторять конкурентов не нужно; да и страшненькие они какие-то) и можно приступать к эскизам:
Этап #2 Эскизирование
Требования к дизайну просты: современный + оставить на корпусе место для лого производителя. Допустимые технологии производства — гибка листового металла, лазерная резка, сварка, покраска. Штамповка под запретом (из-за ограничения стоимости корпуса). В остальном — делаем так, как захотим. Есть даже карт-бланш на расцветку.
Черновики:
Отобранные для дальнейшей работы эскизы:
Чистовые:
Финал, шесть вариантов:
Дизайн получился слегка агрессивным: добавить гусеницы — и увидишь танк. Выбор заказчика:

Этап #3 3D-моделирование
Модель для будущей 3D-печати:
Рендеры:

— Дизайн промышленного оборудования, в частности, станков, — всегда интересная и непростая задача. Помимо особенностей эксплуатации оборудования мы должны учитывать и технологичность его производства, и удобство обслуживания, и конечную стоимость изготовления. В этом проекте от нас требовался уникальный дизайн корпуса станка по производству брикетов. Немаловажным условием было уменьшение себестоимости производства корпуса, а значит, никаких штампов и пластика.
Андрей Востриков,
руководитель
ФОРМЛАБ, специалисты по корпусам
































































